Teile und Funktionen des iX100
Vorderseite

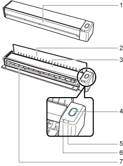
| Nr. | Name | Beschreibung |
|---|---|---|
| 1 | Einzugsführung (*1) | Öffnen Sie diese Abdeckung, um ScanSnap zu verwenden. Durch Öffnen der Abdeckung schaltet sich der ScanSnap ein. Anschließend können Sie ein Dokument in ihm platzieren und in den Schacht einlegen. |
| 2 | Ausgabeführung | Öffnen Sie diese Führung, damit Dokumente von der Vorderseite des ScanSnap ausgegeben werden können. Wählen Sie je nach Scanvorlage eine geeignete Ausgabemethode. Weitere Informationen zu mit ScanSnap scanbaren Dokumenten finden Sie unter Dokumente für das Scannen (iX100).
|
| 3 | Obere Abdeckung | Öffnen Sie diese Abdeckung, um gestautes Papier zu entnehmen oder um das Innere des ScanSnap zu reinigen. Weitere Informationen zum Reinigen des ScanSnap-Inneren finden Sie unter Reinigen der Innenseite des iX100. |
| 4 | [Scan/Stop] Taste (*1) | Drücken Sie auf diese Taste, um den Scanvorgang zu starten oder zu beenden. Zeigt den Status des ScanSnap wie folgt an: Blau (leuchtet): Bereit Blau (blinkend) : Scanmodus Orange (blinkend) : Fehler |
| 5 | Akkuanzeige | Zeigt die verbleibende Akkuleistung und den Akkuladestatus an.
|
| 6 | Wi-Fi Anzeige | Zeigt den Status des über WLAN verbundenen ScanSnap wie folgt an: Blau (leuchtet): Verbunden (Access Point-Verbindungsmodus) Blau (blinkend) : Standby Grün (leuchtend): Verbunden (Direkt-Verbindungsmodus) Orange (leuchtet): Kann nicht verbunden werden oder wartet auf die Verbindung im Direkt-Verbindungsmodus Orange (blinkend) : Keine Verbindung möglich (WPS-Fehler) |
| 7 | Einzugsbereich | Legen Sie das Dokument hier ein. |
| *1: | Wenn sich der ScanSnap aufgrund der Abschaltautomatik automatisch ausgeschaltet hat, drücken Sie entweder auf die [Scan/Stop] Taste (damit wird kein Scanvorgang gestartet) oder schließen Sie die Einzugsführung und öffnen Sie sie erneut, um ScanSnap wieder einzuschalten. Weitere Informationen finden Sie unter Automatisches Ausschalten (iX1600 / iX1500 / iX1400 / iX1300 / iX500 / iX100 / SV600 / S1300i). |
Seite

| Nr. | Name | Beschreibung |
|---|---|---|
| 8 | Siegel | Entfernen Sie dieses Siegel nach der Installation der Software. |
| 9 | USB-Anschluss | Wird zum Anschließen von USB-Kabeln verwendet. |
Rückseite

| Nr. | Name | Beschreibung |
|---|---|---|
| 10 | WPS-Taste | Drücken Sie auf diese Taste, um eine Verbindung zu einem WPS-kompatiblen Gerät anhand der Drucktastenmethode herzustellen. |
| 11 | Wi-Fi Schalter | Betätigen Sie diesen Schalter, um den ScanSnap über WLAN zu verbinden. |
