Parts and Functions of iX100
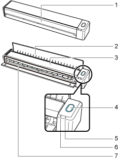
Front

| No. | Name | Description | 
|---|---|---|
| 1 | Feed guide (*1) | Open it to use the ScanSnap. Opening it turns on the ScanSnap. Then, you can place a document on it to insert the document. | 
| 2 | Output guide | Open it to eject documents from the front of the ScanSnap. Select an ejection method depending on the document type you are scanning. For details about documents that can be scanned with the ScanSnap, refer to Documents to Scan (iX100). 
 | 
| 3 | Top cover | Open it to remove jammed documents or clean the inside of the ScanSnap. For details about how to clean the inside of the ScanSnap, refer to Cleaning the Inside of iX100. | 
| 4 | [Scan/Stop] button (*1) | Press this button to start or finish scanning. Indicates the status of the ScanSnap as follows: Blue (lit): Ready Blue (flashing): Scanning Orange (flashing): Error | 
| 5 | Battery indicator | Indicates the remaining battery power and battery charging status. 
 | 
| 6 | Wi-Fi indicator | Indicates the status of the ScanSnap connected via wireless LAN as follows: Blue (lit): Connected (Access Point Connect mode) Blue (flashing): Standby Green (lit): Connected (Direct Connect mode) Orange (lit): Not Connectable or waiting for connection in Direct Connect mode Orange (flashing): Not Connectable (WPS error) | 
| 7 | Feeding section | Insert the document here to load. | 
| *1: | When the ScanSnap has turned off automatically because of the automatic power off function, either press the [Scan/Stop] button (this will not start scanning), or close the feed guide, then open it again to turn the ScanSnap back on. For details, refer to Automatic Power OFF (iX1600 / iX1500 / iX1400 / iX1300 / iX500 / iX100 / SV600 / S1300i). | 
Side

| No. | Name | Description | 
|---|---|---|
| 8 | Tape seal | Remove this tape seal after installing the software. | 
| 9 | USB connector | Used to connect a USB cable. | 
Back

| No. | Name | Description | 
|---|---|---|
| 10 | WPS button | Press this button to connect to a WPS compatible device by using the push button method. | 
| 11 | Wi-Fi switch | Turn this switch on to connect the ScanSnap via wireless LAN. | 




