各部の名称と働き(iX100)
前面

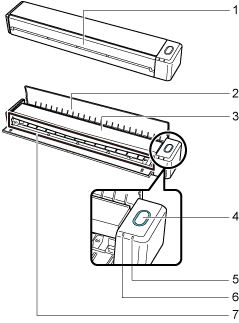
番号 |
名称 |
説明 |
|---|---|---|
1 |
給紙カバー(原稿台)(*1) |
iX100 を使用するときに開けます。 開けると電源が ON になり、原稿を載せる台になります。 |
2 |
排出ガイド |
iX100 の前面側に原稿を排出するときに開けます。 原稿の排出方法は、読み取る原稿の種類に合わせて選択してください。 iX100 で読み取れる原稿については、iX100 に直接セットできる原稿を参照してください。
|
3 |
トップカバー |
原稿づまりの処理および iX100 の内部を清掃するときに開けます。 iX100 内部の清掃方法については、ScanSnap 内部の清掃(iX100 の場合)を参照してください。 |
4 |
[Scan / Stop]ボタン(*1) |
原稿の読み取りを開始および終了します。 iX100 の状態を示します。 青色点灯:正常 青色点滅:読み取り中 オレンジ色点滅:エラー |
5 |
バッテリーランプ |
バッテリーの残量および充電状況を示します。
|
6 |
Wi-Fi ランプ |
無線 LAN 接続時の iX100 の状態を示します。 青色点灯:接続中(アクセスポイント接続モード) 青色点滅:準備中 緑色点灯:接続中(ダイレクト接続モード) オレンジ色点灯:接続不可またはダイレクト接続モードで接続待ち オレンジ色点滅:接続不可(WPS エラー) |
7 |
給紙部 |
原稿をセットするときに、原稿を差し込みます。 |
| *1: | バッテリー駆動時の電源自動 OFF 機能によって iX100 の電源が自動的に OFF になった場合は、[Scan / Stop]ボタンを押す(原稿の読み取りは開始されません)か、給紙カバー(原稿台)を一度閉じてから開けると ON にできます。 詳細は、電源の自動 OFF(iX100)を参照してください。 |
側面

番号 |
名称 |
説明 |
|---|---|---|
8 |
シール |
アプリケーションのインストール後に、シールをはがしてください。 |
9 |
ストラップホール |
ストラップを取り付けられます。 |
10 |
USB コネクター |
USB ケーブルを接続します。 |
背面

番号 |
名称 |
説明 |
|---|---|---|
|
11 |
WPS ボタン |
WPS 対応の機器とプッシュボタン方式で接続するときに押します。 |
|
12 |
Wi-Fi スイッチ |
iX100 を無線 LAN で接続して使用するときに ON にします。 |
